Apple запустит социальную сеть?

12 мая 2015
Подпишитесь на нас в Telegram

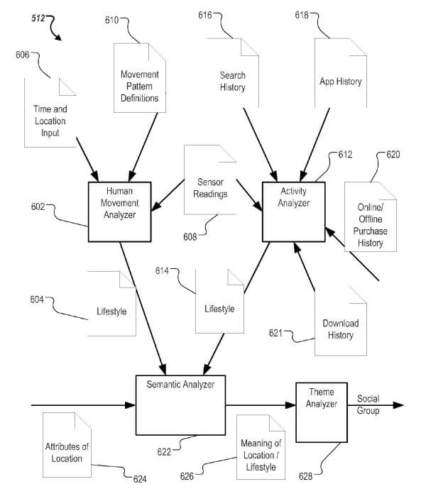
Компания Apple получила патент, который называется «Социальные группы по образу жизни». Разработанный алгоритм будет распределять людей на группы в зависимости от их интересов и занятий.

Механизм работы системы следующий: устройство пользователя собирает информацию о перемещениях и активности, изучает его привычки и предлагает создать социальную группу или присоединиться к существующей. Таким образом, люди смогут находить единомышленников, обмениваться с ними сообщениями и встречаться.


Пример: устройство может определить, что его владелец посещает какое-либо место по будням в 5 часов вечера. При помощи приложений выясняется, что это тренажерный зал. На основе этой информации устройство предложит пользователю создать специализированную группу или даст рекомендации по тренировкам.

Напомним, что попытку создать соцсеть Apple предпринимали в 2010 году, запустив сервис Ping. Но спустя два года ресурс был закрыт из-за низкой посещаемости. 

Друзья, теперь вы можете поддержать Лайкни https://pay.cloudtips.ru/p/8828f748
Ваши донаты помогут нам и дальше радовать вас полезным контентом.

Нас удобно читать в соцсетях. Подписывайся!

Комментарии

0 комментариев
Чтобы оставить комментарий, войдите на сайт через:

Будь в курсе

Главные новости, кейсы и статьи за месяц – у вас в почте:

Лайкни использует cookie-файлы и обрабатывает персональные данные с использованием Яндекс Метрики. Это улучшает работу сайта и взаимодействие с ним. Подтвердите ваше согласие, нажав кнопу Ок.